Product Summary
The 1SS193 is an Ultra High Speed Switching.
Parametrics
1SS193 absolute maximum ratings: (1)Maximum (peak)reverse voltage VRM: 85 V; (2)Reverse voltage VR: 80 V; (3)Maximum (peak)forward current IFM: 300 mA; (4)Average forward current IO: 100 mA; (5)Surge current (10ms)IFSM: 2 A; (6)Power dissipation P: 150 mW; (7)Junction temperature Tj: 125 °C; (8)Storage temperature range Tstg: −55∼125 °C.
Features
1SS193 features: (1)Small package : SC-59; (2)Low forward voltage : VF (3)= 0.9V (typ.); (3)Fast reverse recovery time : trr = 1.6ns (typ.); (4)Small total capacitance : CT = 0.9pF (typ.).
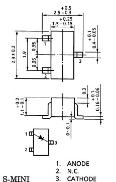
Diagrams

| Image | Part No | Mfg | Description |  | Pricing (USD) | Quantity | ||||||||||||
|---|---|---|---|---|---|---|---|---|---|---|---|---|---|---|---|---|---|---|
|  |  1SS193 |  Other |  |  Data Sheet |  Negotiable |  | ||||||||||||
|  |  1SS193S,LF |  Toshiba |  Rectifiers Ultra High Speed 0.9 VF 85VRM 80VR |  Data Sheet |  
 |  | ||||||||||||
|  |  1SS193T5LFT |  Toshiba |  Rectifiers Diode |  Data Sheet |  
 |  | ||||||||||||
|  |  1SS193TE85LF |  Toshiba |  Rectifiers Ultra High Speed 85V 300 mA 2A IFSM |  Data Sheet |  
 |  | ||||||||||||
 (Hong Kong)
 (Hong Kong) 
                         
                        
 
                                    




